簽名核對失效!喬州參議員亂簽名仍收到郵寄選票
【新唐人亞太台 2020 年 12 月 18 日訊】接著來看到,喬治亞州州務卿12月17日宣布,喬州將對全州159個縣的郵寄選票簽名進行審查。不過,有一名州參議員發現,選舉的簽名配對系統非常失敗,就算他在郵寄選票申請書的簽名完全不一樣,仍然拿到了選票。
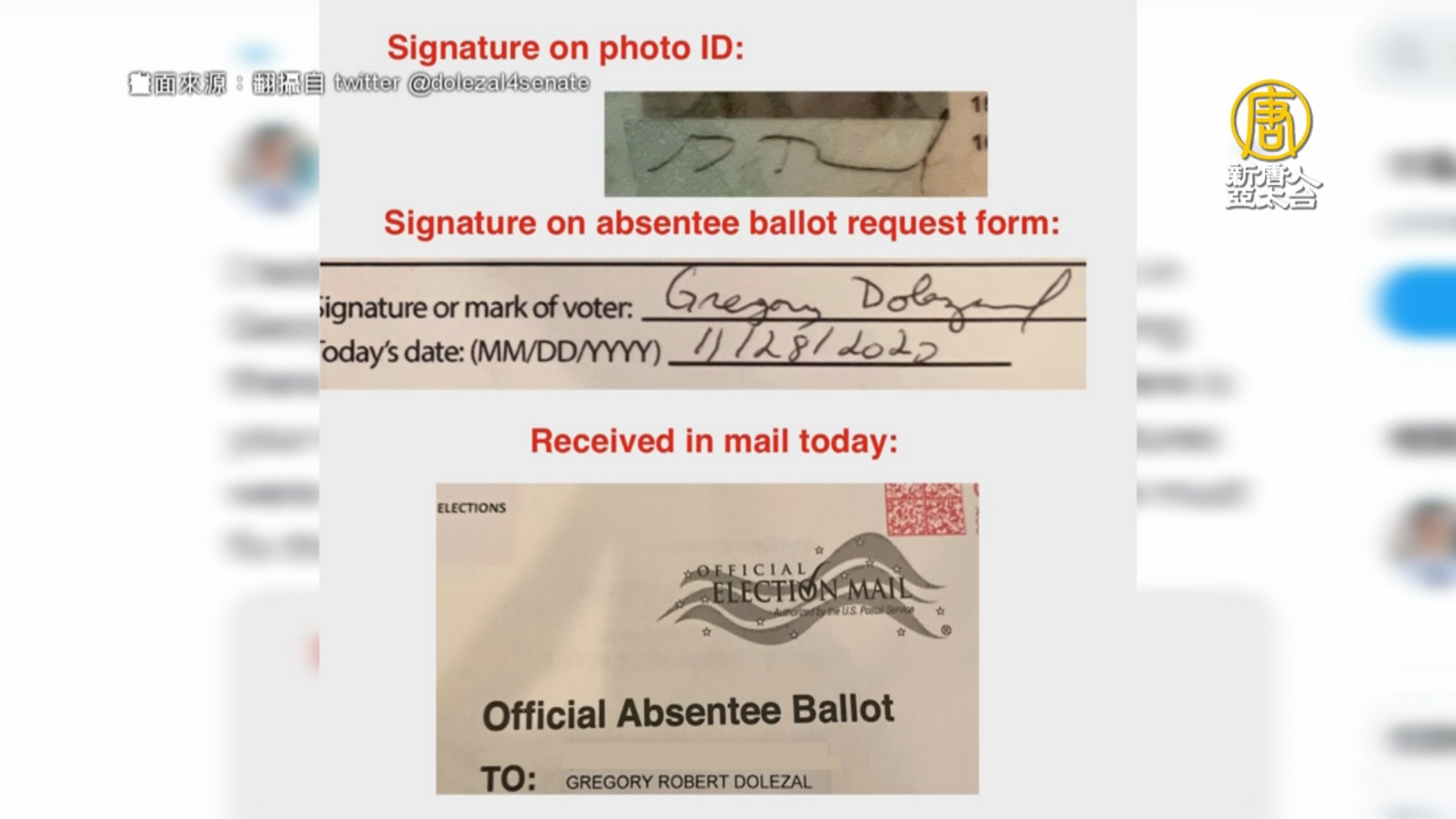
15號,喬治亞州州參議員多爾扎爾(Greg Dolezal)在推特發文,表示他測試了郵寄選票的簽名匹配,發現簽名匹配非常失敗。他在申請喬治亞州參議院第二輪選舉的郵寄投票時,故意用了與身份證上完全不同的簽名,仍成功收到一張郵寄選票。多爾扎爾特地在推特上公布兩個簽名對比,看得出來,兩個簽名明顯不同。
喬治亞州州參議員 多爾扎爾(2020.12.17):「當我拍下那張照片、送出簽名的時候,我對自己說,我不可能再拿回這張選票了。根據喬治亞州的法律,如果簽名不一致,我應該是要用臨時選票投票。但兩天前,我收到了郵寄選票,並允許投票。」
明年(2021年)1月5日,喬治亞州兩席參議員席位將舉行第二輪投票。這兩個參議員席位,將決定由共和黨還是民主黨拿下參議院多數黨位置。
喬治亞州富爾頓郡投票系統技師 索恩(2020.12.8):「當我在倉庫跟道明尼公司測試系統的時候,那些選票就像真實投票的選票。這些在倉庫裡的選票四處亂丟,任何人想要都可以印。」
不過,在舉行第二輪投票之前。美國喬治亞州富爾頓郡(Fulton County)傳出,一名叫做索恩(Bridget Thorne)的投票系統技師,在揭露選舉舞弊並出面作證之後,遭到解職。
The Nation Speaks主持人 Cindy Drukier(2020.12.17):「索恩也曾經上這個節目,她提交過書面證詞,她也收到了跟妳一樣的信(解職信)。」「她還被要求訓練選舉觀察員,顯然她的工作表現受到讚賞。」
富爾頓郡選舉經理 沃爾斯(2020.12.17):「我向參議院小組委員會和眾議院政府事務委員會作證。這之後,富爾頓郡發來一封信,感謝我20多年的經驗和我對他們的忠誠。然後告訴我,不再需要我的服務了。」
除了索恩之外,新唐人英文節目The Nation Speaks也採訪到一名同樣來自富爾頓郡,擔任選舉經理20年的沃爾斯(Suzi Voyles),也遭到解職。
新唐人亞太電視 張祺翎 綜合報導
相關新聞
-
川普打經濟牌 賀錦麗團隊首次被專訪
2024-08-30 12:50:46美國總統大選進入倒數計時,週四,民主黨總統候選人賀錦麗和搭檔沃爾茲,一起接受了參與競選以來的第一次媒體專訪;而川普也緊鑼密鼓地在戰場州「密西根」造勢,帶您看到前線記者的報導。
-
川普再發聲關切台海:若任內中共侵台將轟北京
2024-05-30 19:56:55再來看到,國際關注台海局勢,包括11月將迎來大選的美國,美國前總統川普最近再度對台海發聲,他表示,若中共在他任內入侵台灣,他將轟炸北京作為回應。
-
中文翻譯直播!拜登、川普2024今早九點辯論
2024-06-28 08:05:022024美國總統大選首場辯論,將在台北時間今天早上九點登場,新唐人將進行全程中文同步翻譯,而辯論全程為90分鐘,到時候,81歲的拜登和78歲的川普需要全程站立,兩人沒有外援,只能帶一支筆、白紙和水進場。外界預測,拜登將在政績與川普封口費案上著力,川普則會批評拜登的移民政策、通膨和俄烏戰角色。
-
喊團結美國!川普RNC上二度提及台灣安全
2024-07-19 21:40:03美國前總統川普遭遇襲擊後,首次公開演說,是在18日的共和黨全國代表大會,正式接受共和黨提名參選美國總統。川普向支持者講述上週遭槍手暗殺未遂情況,並強調要團結美國,說明未來政策願景,兩度提及台海局勢。
-
誰更挺台?拜登、川普對中、對台政策速看
2024-06-28 20:11:42美國總統拜登和前總統川普,今天進行總統大選辯論,民調互有勝負。外界也關心,兩人未來入主白宮,誰會更加力挺台灣?在兩岸議題、對中國經貿的態度,都受到矚目。
-
美國大選首場辯論炮火猛 民調67%認為川普表現好
2024-07-03 11:47:39歡迎回來。距離美國總統大選還有4個多月,拜登和川普的首場電視辯論,在台灣時間28日上午9點登場,兩人在多項議題激烈交鋒90分鐘。辯論結束後的快速民調顯示,有67%的註冊選民認為川普表現更好,勝過拜登的33%。
-
美參院提案援以色列烏克蘭台灣 今晚眾院表決
2024-04-20 19:47:13美國眾議院即將表決950億美元的對外援助法案,其中包括援助以色列、烏克蘭和台灣。民主黨佔據多數的參議院領袖舒默表示,只要眾議院表決通過,參議院將立即採取行動;白宮發言人尚皮耶指出,只要法案被兩院通過,拜登將立即簽署執行。
-
美常春藤名校爆反猶抗議 川普:這是恥辱
2024-04-24 19:47:46在以哈戰爭持續之際,多所美國知名大學內,爆發了親巴勒斯坦的學生抗議。美國前總統川普,週二嚴詞譴責,稱這些抗議都是恥辱。來看白宮記者的報導。
-
美大選交鋒 拜登、川普 誰更挺台?政策比一比
2024-06-28 12:58:27美國總統拜登和前總統川普,今天進行總統大選辯論,民調互有勝負,外界也關心,兩人未來入主白宮,誰會更加力挺台灣,兩岸議題,對中國經貿態度都受到矚目。
-
民調落後川普 拜登赴搖擺州拉非裔選票
2024-05-20 12:53:25關心美國總統大選,美國總統拜登週日前往大選中重要的搖擺州喬治州,進行拉票。他還出席了當地一所大學的畢業典禮,並發表演說。來看記者從現場發回的報導。
-
川普、賀錦麗辯論9月10日登場 賀錦麗民調領先
2024-08-10 20:11:54來關注美國總統大選。副總統賀錦麗與前總統川普的第一場電視辯論,已經確定日期,將在9月10日,首次面對面交鋒。
-
高院關鍵裁決:川普對其官方行為享有豁免權
2024-07-02 07:16:55關心美國總統大選,週一,美國最高法院在一項關鍵判決中,裁定前總統川普對其官方行為享有總統豁免權,從而為川普競逐大選掃清了司法障礙。
-
佛州參議員現身法庭挺川 川普小兒子參政
2024-05-10 12:57:27關心美國大選,週四,美國前總統川普繼續在紐約出庭「封口費」案;川普18歲的小兒子也被確認,將迎來個人的政治首秀。
-
延續拜登對台政策?賀錦麗曾與賴清德短暫互動
2024-07-23 07:39:22好,賀錦麗除了獲得拜登與四分之一的黨代表支持之外,最新消息,包括美國前眾議院議長裴洛西,和前總統柯林頓與前國務卿希拉蕊夫婦都已經表態相挺,賀錦麗團隊也在24小時內籌集到8100萬美元捐款,2022年,賀錦麗曾赴宏都拉斯參加宏國總統就職典禮時,與時任副總統賴清德被安排坐在同一排,兩人曾互動交談。2022年9月,賀錦麗在與南韓總統尹錫悅會面時,重申美國會致力維護基於規則的國際秩序,確保台灣海峽和平穩定。
-
川普建議台灣軍費 增至GDP10%以阻止共軍
2024-10-01 15:32:43美國總統大選倒數36天,台海安全成為關注焦點。共和黨總統候選人川普接受採訪時表示,中共不會在他任內打台灣,但他擔心後續不能避免,川普也建議台灣,將國防預算拉高到GDP的10%。
-
川普紐約市造勢迎兩萬選民 賀錦麗搖擺州獲支持
2024-05-25 19:50:59來關注,美國總統大選。前總統川普在紐約市造勢,吸引2萬多位選民到場。現任副總統賀錦麗則在搖擺州得到選民支持。
-
白宮連線:首場辯論倒計時 拜登民調反超川普
2024-06-21 12:42:59來關注美國大選,距離首場辯論,只剩下最後一週,最新民調顯示,美國總統拜登扭轉了稍微落後的局面,在獨立選民中的支持度,超過了川普。請看我們白宮記者報導。
-
拜登發表退選談話 川普與賀錦麗民調互有勝負
2024-07-25 20:00:01美國總統拜登在台北時間今天上午發表全國演說,說明退出大選的原因,表示將交棒給新一代。另外,美國共和黨總統候選人川普,出席北卡羅來納州的造勢大會,而兩黨最新民調也曝光。
-
拜登與川普政策對比 美大選影響政經4年走向
2024-07-04 17:15:49全球股市頻創新紀錄,不過下半年全球經濟,面對多項變數,富邦金財經論壇,經濟學家羅瑋就分析三大焦點,包含Fed貨幣政策,地緣政治緊張,此外美國總統大選,可能牽連甚廣,兩黨候選人政策差異,將絕對未來4年政經走向。
-
微軟千億建資料中心 原鴻海威州空置園區
2024-05-11 14:35:56再來看到,美國總統拜登,本週前往威斯康辛州,宣布大廠微軟將在當地投資33億美元,超過千億台幣,而這個地區,就是台廠鴻海,原定2017年設廠的舊址。










